你的血液可以解鎖手機,你知道么?
發布時間:
編輯:
為了讓用戶有更好的體驗效果,不同手機有很多的解鎖方式,目前市面上較為成熟的解鎖方式有三種:指紋解鎖,虹膜解鎖,面部解鎖。其中zui便捷,發展zui成熟的是指紋解鎖。虹膜和面部解鎖都具有一定局限性。
但是,永不止步是目標,為了提供給用戶另外一種體驗,近日三星被爆出,新申請一項專利,這是一種基于用戶血液流動模式的新認證系統。
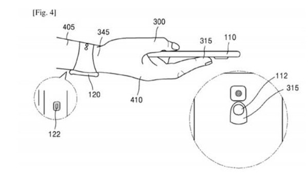
2016年7月,美國收到了三星一項名為“基于血流參數實時認證”的專利申請。該專利描述了一種通過智能手機和智能手表上的傳感器識別用戶手指或手腕血液流動模式的方法。

根據專利申請,由于“不同的用戶動脈血液傳導路徑都不相同”,它可以根據用戶的血液流動模式對用戶進行認證。智能手機或者智能手表中的傳感器可以從不同的血液流動點收集數據,根據每個用戶的數據不同來識別用戶。

對于這個專利,認為還是比較實用地,畢竟可以讓懶人經濟更上一層樓。例如可以應用到智能手表當中,可以監測用戶健康數據,還可以用戶在驗證身份支付時,并不需要連接手機進行數據驗證,就可以完成支付,更加方便。

實用教程您也可以關注我們的維修公眾號:手機上門維修回收,隨時隨地,一鍵預約,工程師20分鐘上門為您維修手機。
上一篇 :
蘋果手機換屏的操作步驟分享
下一篇 :
無法調節音量大小
